電液數字控制技術在提升裝置中的應用
1.提升裝置工作原理簡介
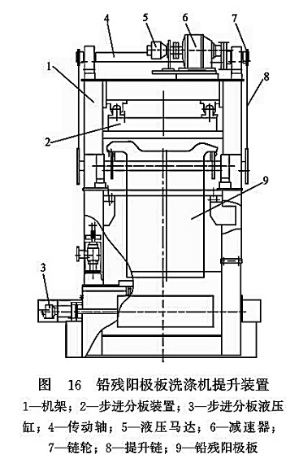
在鉛電解殘陽極洗滌生產線中,提升裝置如圖16所示。該裝置主要由液壓馬達、減速器、齒輪傳動機構、鏈提升機構組成,其主要任務是將要洗滌的鉛殘陽極板下降進行洗滌,在洗滌完之后,再將鉛殘陽極板提升。其工作原理為:首先鉛殘陽極板步進輸送至分板位置,步進分板液壓缸動作,將鉛殘陽極板送至洗滌位置;然后液壓馬達輸出動力,經過一對減速齒輪將旋轉運動傳遞給鏈輪,通過鏈輪帶動鉛殘陽極板吊耳掛鉤下降至沖洗裝置;最后由鏈輪將洗滌完后的鉛板提升至原來的分板推板位置處,再由分板推板裝置將鉛殘陽機板推出,這樣就完成一次提升工作循環。整個洗滌過程要求提升裝置能做到頻繁啟動、反轉、制動,并且為了達到洗滌的平穩性,還需限制最大加速度和加速度變化率。
由于鉛殘陽極板的表面極不平整,且提升的速度較快,在提升過程會出現速度控制不準確、抖動現象,不利于鉛殘陽極板的洗滌。嚴重時,還可能將鉛殘陽極板卡到洗滌位置處,影響了生產效率。作者擬采用電液數字技術對系統進行控制。
2.提升裝置速度控制系統原理
洗滌機提升裝置液壓控制系統原理如圖17所示。其工作原理是:當提升裝置上下運動時,速度傳感器檢測提升裝置的運動速度,模擬量的速度信號經過A/D轉換成數字量,反饋給計算機,計算機將接收到的反饋信號與要求的信號進行對比,如果有速度誤差,計算機向數字閥控制器發出誤差信號,閥控制器再根據此誤差信號驅動數字閥的步進電動機,由步進電動機對數字閥的閥心位置進行控制,即對數字閥開口進行控制,從而實現對數字閥流量的控制,進一步達到對液壓馬達轉速的控制,從而達到對提升裝置的速度控制。
3.提升裝置電液數字控制系統建模
根據系統各動力機構參數,得出系統輸出對輸入的開環傳遞函數為
系統輸出對輸入的閉環傳遞函數為
4.電液數字控制系統的穩定性分析
由圖18所示的系統開環傳遞函數Bode圖可知,相位裕量γ=4.71°,穿越頻率wc= 574rad/s。相頻曲線沒有與-180°線相交,則系統幅值裕量Kg趨于+∞,按照判定原理,閉環系統是穩定的。但電液數字速度控制系統的相位裕量偏小,而幅值裕量偏大。當系統參數改變時,系統的相位裕量和幅值裕量太大或者太小都會影響到系統的穩定性。一般對于相位裕量和幅值裕量都有一個選擇范圍,相位裕量γ= 30°~60°,幅值裕量Kg=8~20dB。為了使系統有合適的相位裕量和幅值裕量,必須給系統加上適當的校正環節。
5.電液數字控制系統PID控制
通過多種校正方法的分析,采用PID控制對數字速度控制系統進行校正。PID控制器是由比例、積分、微分組成,其控制規律為
Gc(s)=KP+(K1/s)KDs
由圖19可以看出,PID校正后的系統幅值裕量Kg=9.39dB,相位裕量γ=47.1°且系統對階躍信號的穩態誤差為零。所以增加了PID校正的電液數字速度控制系統,性能完全符合提升裝置的要求,但是由Bode圖對比可知系統的穿越頻率減小了,可以說系統性能的提高是以降低系統的響應速度為代價的。
